Недавно просмотренные товары
|
Код товара:
52436
| ||
|
Цена по запросу
|
||
| ||
|
Под заказ
Код товара:
52436
| ||
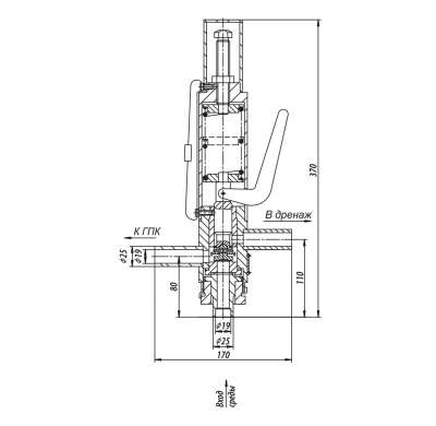
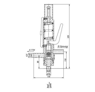
| Клапан обратный 3с-6-3 Ду32 Ру100 |
Цена действительна только для интернет-магазина и может
отличаться от цены в розничном магазине
отличаться от цены в розничном магазине
- Описание
- Наличие на складе
-
Клапан обратный 3с-6-3 Ду32 Ру100.
Параметры эксплуатации
Конструктивные исполнения: подъемные и поворотные.
Установочное положение клапана обратного: только на горизонтальных участках трубопроводов с направлением потока среды "под тарелку", так, чтобы направление потока совпадало со стрелкой, нанесенной на корпусе, при этом гайка (крышка) должна быть направлена только вверх.
Присоединение к трубопроводу: под сварку.
DN, мм - 32
Температура рабочая - до 450С
Раб. ход, mm - 20
Раб. среда - вода-парАртикул 52436





